第十四届蓝桥杯省赛 Python B 组 D 题——管道(AC)

2023-09-07 16:39:45

1. 管道

1. 问题描述

有一根长度为 len \text{len} len 的横向的管道,该管道按照单位长度分为 len \text{len} len 段,每一段的中央有一个可开关的阀门和一个检测水流的传感器。

一开始管道是空的,位于 L i L_i Li 的阀门会在 S i S_i Si 时刻打开,并不断让水流入管道。

对于位于 L i L_i Li 的阀门,它流入的水在 T i T_i Ti ( T i ≥ S i T_i \geq S_i TiSi) 时刻会使得从第 L i − ( T i − S i ) L_i - (T_i - S_i) Li(TiSi) 段到第 L i + ( T i − S i ) L_i + (T_i - S_i) Li+(TiSi) 段的传感器检测到水流。

求管道中每一段中间的传感器都检测到有水流的最早时间。

2. 输入格式

输入的第一行包含两个整数 n , len n,\text{len} n,len,用一个空格分隔,分别表示会打开的阀门数和管道长度。

接下来 n n n 行每行包含两个整数 L i , S i L_i,S_i Li,Si,用一个空格分隔,表示位于第 L i L_i Li 段管道中央的阀门会在 S i S_i Si 时刻打开。

3. 输出格式

输出一行包含一个整数表示答案。

4. 样例输入

3 10
1 1
6 5
10 2

5. 样例输出

5

6. 评测用例规模与约定

对于 30 30 30% 的评测用例, n ≤ 200 n \leq 200 n200 S i , len ≤ 3000 S_i, \text{len} \leq 3000 Si,len3000

对于 70 70 70% 的评测用例, n ≤ 5000 n \leq 5000 n5000 S i , len ≤ 1 0 5 S_i, \text{len} \leq 10^5 Si,len105

对于所有评测用例, 1 ≤ n ≤ 1 0 5 ​ 1 \leq n \leq 10^5​ 1n105 1 ≤ S i , len ≤ 1 0 9 ​ 1 \leq S_i,\text{len} \leq 10^9​ 1Si,len109 1 ≤ L i ≤ len​ 1 \leq L_i \leq \text{len}​ 1Lilen L i − 1 < L i ​ L_{i-1} < L_i​ Li1<Li

2. 解题思路

对于一个时间点 x x x,如果此时所有传感器都能检测到水流,那么当时间点大于 x x x 时也一定保证所有传感器都能检测到水流。题目要求我们找到满足条件的最小时间点,因为答案具有二段性,所以我们可以想到二分答案。

有了二分的思路后,问题转换为对于一个确定的时间点 x x x,我们如何判断此时所有传感器都能检测到水流?仔细思考,当时间确定后,对于一个位于 a i a_i ai 且开启时间为 S i ( S i ≤ x ) S_i(S_i \leq x) Si(Six) 的阀门,它的水流实际就是一条覆盖区间 [ a i − ( x − S i ) , a i + ( x − S i ) ] [a_i-(x-S_i),a_i+(x-S_i)] [ai(xSi),ai+(xSi)] 的线段。

我们可以将所有 S i ≤ x S_i \leq x Six 的阀门都进行转换,实际上得到的就是若干条线段。判断所有传感器是否都能检测到水流,等价于判断能否用这若干条线段覆盖区间 [ 1 , len ] [1,\text{len}] [1,len],问题接着转换为区间覆盖问题。

区间覆盖是一个经典问题。我们可以按区间的左端点来排序这些区间。接下来,我们检查这些区间是否覆盖了整个管道。如果第一个区间的左端点大于 1 1 1,那么表示管道的开始部分没有被覆盖,直接返回 false。否则我们设一个变量 r r r 表示可到达的最远距离, r r r 的初始值为第一个区间的右端点。我们接着检查其他区间是否与 r r r 相邻或重叠。如果当前区间和 r r r 相邻或重叠,我们将当前区间的右端点和 r r r 取最大值。最后如果 r ≥ len r \geq \text{len} rlen 则说明成功覆盖所有区间,否则说明没有。

回过头来考虑如何书写二分,设 l l l 为答案的下界, r r r 为答案的上界,如果二分得到的时间点 mid \text{mid} mid 符合条件,因为大于 mid \text{mid} mid 的时间点也一定符合条件,所以更新 r = mid r=\text{mid} r=mid,否则更新 l = mid+1 l=\text{mid+1} l=mid+1。我们重复这个过程,直到搜索范围的左右端点相等,此时就找到了最早的时间。 当然 l , r l,r l,r 的初始值我们也需要思考, l l l 显然为 1 1 1,而 r r r 我们需要考虑极限情况,即只存在一个最左或最右的阀门在最晚的时间点打开,显然此时需要的时间为 2 × 1 0 9 2 \times 10^9 2×109,所以 r r r 的初始值为 2 × 1 0 9 2 \times 10^9 2×109

时间复杂度: O ( n log ⁡ n 2 ) O(n\log n^2) O(nlogn2)

3. AC_Code

  • C++
#include<bits/stdc++.h>
using namespace std;
typedef long long LL;
#define sz(s) ((int)s.size())

int n, m;
int main()
{
	ios_base :: sync_with_stdio(false);
	cin.tie(0); cout.tie(0);
	cin >> n >> m;
	vector<int> a(n), s(n);
	for (int i = 0; i < n; ++i) {
		cin >> a[i] >> s[i];
	}
	auto check = [&](LL t) {
		std::vector<pair<LL, LL>> v;
		for (int i = 0; i < n; ++i) {
			if (t >= s[i]) v.push_back({a[i] - (t - s[i]), a[i] + (t - s[i])});
		}
		sort(v.begin(), v.end());
		if (sz(v) == 0 || v[0].first > 1) return false;
		LL r = v[0].second;
		for (int i = 1; i < sz(v); ++i) {
			if (v[i].first <= r + 1) r = max(r, v[i].second);
			else break;
		}
		return r >= m;
	};
	LL l = 1, r = 2e9;
	while (l < r) {
		LL mid = l + r >> 1;
		if (check(mid)) r = mid;
		else l = mid + 1;
	}
	cout << r << '\n';
	return 0;
}
  • Java
import java.util.*;

public class Main {
    static int n, m;

    public static void main(String[] args) {
        Scanner sc = new Scanner(System.in);
        n = sc.nextInt();
        m = sc.nextInt();
        int[] a = new int[n];
        int[] s = new int[n];
        for (int i = 0; i < n; ++i) {
            a[i] = sc.nextInt();
            s[i] = sc.nextInt();
        }
        long l = 1, r = 2_000_000_000;
        while (l < r) {
            long mid = l + r >>> 1;
            if (check(mid, a, s)) r = mid;
            else l = mid + 1;
        }
        System.out.println(r);
    }

    private static boolean check(long t, int[] a, int[] s) {
        List<Pair<Long, Long>> v = new ArrayList<>();
        for (int i = 0; i < n; ++i) {
            if (t >= s[i]) {
                v.add(new Pair<>(a[i] - (t - s[i]), a[i] + (t - s[i])));
            }
        }
        v.sort(Comparator.comparingLong(Pair::getKey));
        if (v.size() == 0 || v.get(0).getKey() > 1) return false;
        long r = v.get(0).getValue();
        for (int i = 1; i < v.size(); ++i) {
            if (v.get(i).getKey() <= r + 1) r = Math.max(r, v.get(i).getValue());
            else break;
        }
        return r >= m;
    }

    static class Pair<K, V> {
        private final K key;
        private final V value;

        public Pair(K key, V value) {
            this.key = key;
            this.value = value;
        }

        public K getKey() {
            return key;
        }

        public V getValue() {
            return value;
        }
    }
}
  • Python
n, m = map(int, input().split())
a = []
s = []
for i in range(n):
    a_i, s_i = map(int, input().split())
    a.append(a_i)
    s.append(s_i)

def check(t):
    v = []
    for i in range(n):
        if t >= s[i]:
            v.append((a[i] - (t - s[i]), a[i] + (t - s[i])))
    v.sort()
    if len(v) == 0 or v[0][0] > 1:
        return False
    r = v[0][1]
    for i in range(1, len(v)):
        if v[i][0] <= r + 1:
            r = max(r, v[i][1])
        else:
            break
    return r >= m

l = 1
r = 2_000_000_000
while l < r:
    mid = (l + r) // 2
    if check(mid):
        r = mid
    else:
        l = mid + 1

print(r)
更多推荐

Java8实战-总结30

Java8实战-总结30并行数据处理与性能并行流正确使用并行流高效使用并行流小结并行数据处理与性能并行流正确使用并行流错用并行流而产生错误的首要原因,就是使用的算法改变了某些共享状态。下面是另一种实现对前n个自然数求和的方法,但这会改变一个共享累加器:publicstaticlongsideEffectSum(long

华为OD机试 - 特异性双端队列(Java 2023 B卷 100分)

目录专栏导读一、题目描述二、输入描述三、输出描述四、Java算法源码五、效果展示1、输入2、输出华为OD机试2023B卷题库疯狂收录中,刷题点这里专栏导读本专栏收录于《华为OD机试(JAVA)真题(A卷+B卷)》。刷的越多,抽中的概率越大,每一题都有详细的答题思路、详细的代码注释、样例测试,发现新题目,随时更新,全天C

单例模式有几种写法?

作者:猴子007选自:https://monkeysayhi.github.io“你知道茴香豆的‘茴’字有几种写法吗?”纠结单例模式有几种写法有用吗?有点用,面试中经常选择其中一种或几种写法作为话头,考查设计模式和codingstyle的同时,还很容易扩展到其他问题。这里讲解几种笔者常用的写法,但切忌生搬硬套,去记“茴

基于python的在线文档管理系统vue

本课题使用Python语言进行开发。代码层面的操作主要在PyCharm中进行,将系统所使用到的表以及数据存储到MySQL数据库中,方便对数据进行操作本课题基于WEB的开发平台1.运行环境:python3.7/python3.8。2.IDE环境:pycharm+mysql5.7;3.数据库工具:Navicat114.硬件

Xilinx ZYNQ 7000学习笔记五(Xilinx SDK 烧写镜像文件)

概述前面几篇讲了ZYNQ7000的启动过程,包括BootRom和FSBL的代码逻辑,其中关于FSBL代码对启动模式为JTAG被动启动没有进行分析,本篇将通过将JTAG的功能和通过XilinxSDK烧写镜像文件到flash来顺道把FSBL中的JTAG代码部分给讲解下。1.JTAGZYNQ7000系列SOC通过标准的JTA

【C++】string 之 assign、at、append函数的学习

前言在学习string类的过程中,我发现了assign这个函数,感觉很有用,就来记录一下assign函数原型:voidassign(size_typen,constT&x=T());voidassign(const_iteratorfirst,const_iteratorlast);assign函数有两种使用方式:第一

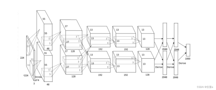
计算机视觉与深度学习-经典网络解析-AlexNet-[北邮鲁鹏]

这里写目录标题AlexNet参考文章AlexNet模型结构AlexNet共8层:AlexNet运作流程简单代码实现重要说明重要技巧主要贡献AlexNetAlexNet是一种卷积神经网络(ConvolutionalNeuralNetwork,CNN)的架构。它是由AlexKrizhevsky、IlyaSutskever和

操作系统学习笔记-精简复习版

文章目录操作系统概述1、操作系统2、主要功能3、用户态和内核态4、系统调用进程管理1、进程和线程2、引入线程的好处3、线程间同步4、进程控制块PCB5、进程的状态6、进程的通信方式7、进程的调度算法8、僵尸进程&孤儿进程9、死锁内存管理1、内存碎片2、内存管理3、虚拟内存4、分段机制5、分页机制6、段页式机制7、局部性

rust容器

标准库提供了常见的容器。包括向量(Vector)、映射(HashMap)、集合(HashSet)。一、向量Vector数组有一个缺点,就是它的长度在编译时就确定了,一旦确定就永不可更改。向量是一个长度可变的数组。向量的存储在堆上,因此长度可变。Rust在标准库中定义了结构体Vec用于表示向量。(一)定义向量一维向量1.

使用Docker构建轻量级Linux容器

Docker是一个开源的容器化平台,可以帮助用户快速创建、部署和管理应用程序的轻量级Linux容器。通过Docker,用户可以将应用程序及其所有依赖项打包成一个独立的容器镜像,并在各种环境中运行,无需担心环境差异和依赖冲突。下面将详细介绍使用Docker构建轻量级Linux容器的过程。一、Docker简介Docker基

SpringMVC之自定义注解

目录一.什么是Java注解1.简介2.注解的分类3.JDK元注解二.自定义注解1.自定义注解的分类1.1.标记Annotation:1.2.元数据Annotation:2.如何使用自定义注解3.案例演示3.1获取类、方法及属性上的注解值3.2@Inherited的使用3.3获取类属性上的注解属性值3.4获取参数修饰注解

热文推荐